Группа Л23
ОТКРЫТОЕ АКЦИОНЕРНОЕ ОБЩЕСТВО НИЖНЕКАМСКНЕФТЕХИМ
ТУ 2483-077-05766801-98
НЕОНОЛЫ
Технические условия
ОКП 24 8389 / ТНВЭД 3402 13 000
Дата введения с 20.03.2001
Настоящие технические условия распространяются на оксиэтилированные моноалкилфенолы на основе тримеров пропилена (изононила).
Принятое название Неонолы: Неонол АФ 9-4, Неонол АФ 9-6, Неонол АФ 9-8, Неонол АФ 9-9, Неонол АФ 9-10, Неонол АФБ-10, Неонол АФ 9-12, Неонол АФБ-12,
где
- 9 - число атомов углерода в алкильном радикале;
- 4, 6, 8, 9, 10, 12 - усредненное число молей окиси этилена, присоединенное к молю алкилфенола.
Оксиэтилированные алкилфенолы на основе тримеров пропилена представляют собой техническую смесь полиэтиленгликолевых эфиров моноалкилфенолов следующего состава:
C9H19C6H4O(C2H4O)nH
где
- C9H19 - алкильный радикал изононил, присоединенный к фенолу преимущественно в пара-положении к гидроксильной группе;
- n - усредненное число молей окиси этилена, присоединенное к одному молю алкилфенолов.
Для производства используют дистиллированные изононилфенолы с массовой долей моноалкилфенолов не менее 98 %.
Усредненная степень оксиэтилирования для Неонола
- АФ 9-4 - соответствует 4
- АФ 9-6 - соответствует 6
- АФ 9-8 - соответствует 8
- АФ 9-9 - соответствует 9
- АФ 9-10, АФБ-10 - соответствует 10
- АФ 9-12, АФБ-12 - соответствует 12
Неонол АФБ-10 и Неонол АФБ-12 - оксиэтилированные моноалкилфенолы на основе тримеров пропилена с более высокой биологической разлагаемостью. Алкильный радикал в Неоноле АФБ-10 и Неоноле АФБ-12 более, чем на 92 % масс, находится в пара-положении по отношению к гидроксильной группе фенола, что благоприятствует повышению биоразлагаемости.
Первичная степень биоразложения Неонола АФБ-10 составляет 97±2, АФБ-12 составляет 96±2. Полная степень биоразложения Неонола АФБ-10 составляет 90±5, АФБ-12 составляет 79±3.
Усредненное число молей окиси этилена, присоединенное к одному молю алкилфенолов (степень оксиэтилирования) - (n), может быть определено по формуле:
\(n = \frac{m \cdot 220}{\left( 100 - m \right) \cdot 44},\)
где
- m - массовая доля окиси этилена в составе этоксилата, определенная по показателю «фенольный индекс», %;
- 220 - относительная молекулярная масса изононилфенола;
- 44 - относительная молекулярная масса окиси этилена.
Неонол АФ 9-4 и Неонол АФ 9-6 относятся к малорастворимым НПАВ. Они хорошо растворяются в большинстве органических растворителей, в воде диспергируются с образованием эмульсий. Неонол АФ 9-8, Неонол АФ 9-9, Неонол АФ 9-10, Неонол АФБ-10, Неонол АФ 9-12 и Неонол АФБ-12 относятся к водорастворимым НПАВ (Неонол АФ 9-8 имеет ограниченную растворимость в воде), но растворяются и в некоторых органических растворителях, в том числе и нефти. При смешивании с холодной водой образуют труднорастворимые гели, которые исчезают при нагревании смеси выше 50 °С при перемешивании.
Неонолы характеризуются физико-химическими показателями согласно табл. 1.
| Наименование | Температура застывания, °С | Плотность, кг/м3 |
|---|---|---|
| Неонол АФ 9-4 | минус 24 | при 40 °С - 1025±3 |
| Неонол АФ 9-6 | минус 20 | при 40 °С - 1027±3 |
| Неонол АФ 9-8 | от минус 2 до 2 | при 20 °С - 1062±3 |
| Неонол АФ 9-9 | от 3 до 8 | при 40 °С - 1045±3 |
| Неонол АФ 9-10 | от 6 до 10 | при 50 °С - 1040±3 |
| Неонол АФБ-10 | от 6 до 10 | при 50 °С - 1040±3 |
| Неонол АФ 9-12 | от 13 до 17 | при 50 °С - 1046±3 |
| Неонол АФБ-12 | от 13 до 17 | при 50 °С - 1046±3 |
Оксиэтилированные моноалкилфенолы на основе тримеров пропилена являются высокоэффективными неионогенными поверхностно-активными веществами. Применяются при заводнении нефтяных пластов для интенсификации нефтедобычи, при бурении скважин, в текстильной, целлюлозно-бумажной, деревообрабатывающей промышленности, в составе смазочно-охлаждающих, гидравлических и других технологических жидкостей, в черной металлургии, в качестве активной, основы для моющих средств технического назначения, сырья для синтеза некоторых типов активной основы текстильно-вспомогательных продуктов и в ряде других отраслей народного хозяйства.
Неонол АФБ-10 и Неонол АФБ-12 имеют повышенную биоразлагаемость, что позволяет использовать их в качестве активных компонентов в составе бытовых моющих и очищающих средств.
Обязательные требования к неонолам направленные на обеспечение безопасности для жизни, здоровья, имущества населения и охраны окружающей среды, изложены в разделах: «Технические требования», «Требования безопасности», «Транспортирование и хранение», «Гарантия изготовителя».
Пример обозначения в технической документации и при заказе: «Неонолы ТУ 2483-077-05766801-98».
1. ТЕХНИЧЕСКИЕ ТРЕБОВАНИЯ
1.1. Оксиэтилированные моноалкилфенолы: Неонол АФ 9-4, Неонол АФ 9-6, Неонол АФ 9-8, Неонол АФ 9-9, Неонол АФ 9-10, Неонол АФБ-10, Неонол АФ 9-12 и Неонол АФБ-12 изготовляют в соответствии с требованиями настоящих технических условий по технической документации, утвержденной в установленном порядке.
1.2. Оксиэтилированные моноалкилфенолы - Неонол АФ 9-4, Неонол АФ 9-6, Неонол АФ 9-8, Неонол АФ 9-9, Неонол АФ 9-10, Неонол АФБ-10, Неонол АФ 9-12 и Неонол АФБ-12 должны соответствовать нормам и требованиям, указанным в табл. 2.
1.3. Упаковка и маркировка
Упаковку Неонолов производят в железнодорожные цистерны (ГОСТ 1510, приложение 1, п. 18.2), в танк-контейнера с обогревом. По согласованию с потребителем допускается упаковка в автоцистерны и стальные бочки по ГОСТ 6247 вместимостью 100, 200, 275 дм3. При этом тара должна быть готова под налив.
Упаковка железнодорожных цистерн, автоцистерн и стальных бочек должна быть герметичной. Передавливание продукта из емкостей хранения в транспортную тару и транспортные средства производят азотом по ГОСТ 9293, особой и повышенной чистоты.
| Наименование показателя | Значение | Методы испытания | |||||||
|---|---|---|---|---|---|---|---|---|---|
| Неонол АФ 9-4 | Неонол АФ 9-6 | Неонол АФ 9-8 | Неонол АФ 9-9 | Неонол АФ 9-10 | Неонол АФБ-10 | Неонол АФ 9-12 | Неонол АФБ-12 | ||
| 1 | 2 | 3 | 4 | 5 | 6 | 7 | 8 | 9 | 10 |
| Внешний вид при 25 °С | Прозрачная маслянистая жидкость от бесцветного до желтоватого цвета | По п.4.2 наст. ТУ | |||||||
| Цветность в ед. Хазена по платиново-кобальтовой шкале, не более | 150 | 150 | 150 | 150 | 150 | 150 | 150 | 150 | ГОСТ 18522, раздел 1 (с дополнением по п. 4.3 для неонолов 9-12 |
| Температура помутнения водного раствора НПАВ концентрацией 10 г/дм3, °С | – | – | 32±3 | 54±3 | 66±3 | 66±3 | 86±3 | 86±3 | По п. 4.4 настоящих ТУ |
| Концентрации водородных ионов (pH) | |||||||||
| - водного раствора НПАВ концентрацией 10 г/дм3 | – | – | 7,0±1,0 | 7,0±1,0 | 7,0±1,0 | 7,0±1,0 | 7,0±1,0 | 7,0±1,0 | ГОСТ 22567.5 |
| - водно-спиртовой эмульсии НПАВ концентрацией 10 г/дм3 | 7,0±1,0 | 7,0±1,0 | – | – | – | – | – | – | ГОСТ 22567.5 с дополнением по п. 4.5 настоящих ТУ |
| Массовая доля присоединенной окиси этилена, % | 44,2±2,0 | 54,5±1,7 | 61,5±1,5 | 64,0±1,2 | 67,0±1,0 | 67,0±1,0 | 70,0±1,0 | 70,0±1,0 | По п. 4.6 настоящих ТУ |
| Массовая доля воды, %, не более | 0,5 | 0,5 | 0,5 | 0,5 | 0,5 | 0,5 | 0,5 | 0,5 | ГОСТ 14870, раздел 2 |
| Массовая доля полиэтиленгликолей, %, не более | 1,0 | 1,0 | 1,0 | 1,0 | 1,0 | 1,0 | 1,5 | 1,5 | По п. 4.7 настоящих ТУ |
| Массовая доля параизомера оксиэтилированного моноалкилфенола, %, не менее | – | – | – | – | – | 92 | – | 92 | По п. 4.8 настоящих ТУ |
Примечание для таблиц 2, 2а:
1) Для неонолов, используемых нефтедобывающей промышленностью, по требованию потребителя допускается концентрация водородных ионов (pH) в пределах от 6 до 10,5.
2) Предприятие-изготовитель имеет право перевести из приемо-сдаточных в периодические испытания, с частотой контроля не реже одного раза в квартал, следующие показатели качества:
- «массовая доля полиэтиленгликолей»;
- «массовая доля присоединенной окиси этилена» для Неонолов АФ 9-8, АФ 9-9, АФ 9-10, АФ 9-12, АФБ 9-10, АФБ 9-12;
с частотой контроля не реже одного раза в месяц, следующий показатель качества:
- «массовая доля пара-изомера окисиэтилированного моноалкилфенола».
3) изготовителю допускается проводить приемо-сдаточные испытания по определению массовой доли пара-изомера в исходном сырье для получения Неонолов по п. 4.8.4.1 и 4.8.4.2 настоящих технических условий.
| Наименование показателя | Значение | Методы испытания | |||
|---|---|---|---|---|---|
| Неонол АФ 9-4 | Неонол АФ 9-6 | Неонол АФ 9-8 | Неонол АФ 9-9 | ||
| 1 | 2 | 3 | 4 | 5 | 6 |
| Внешний вид при 25 °С | Прозрачная маслянистая жидкость от бесцветного до желтоватого цвета | По п.4.2 наст. ТУ | |||
| Цветность в ед. Хазена по платиново-кобальтовой шкале, не более | 150 | 150 | 150 | 150 | ГОСТ 18522, раздел 1 (с дополнением по п. 4.3 для неонолов 9-12 |
| Температура помутнения водного раствора НПАВ концентрацией 10 г/дм3, °С | – | – | 32±3 | 54±3 | По п. 4.4 настоящих ТУ |
| Концентрации водородных ионов (pH) | |||||
| - водного раствора НПАВ концентрацией 10 г/дм3 | – | – | 7,0±1,0 | 7,0±1,0 | ГОСТ 22567.5 |
| - водно-спиртовой эмульсии НПАВ концентрацией 10 г/дм3 | 7,0±1,0 | 7,0±1,0 | – | – | ГОСТ 22567.5 с дополнением по п. 4.5 настоящих ТУ |
| Массовая доля присоединенной окиси этилена, % | 44,2±2,0 | 54,5±1,7 | 61,5±1,5 | 64,0±1,2 | По п. 4.6 настоящих ТУ |
| Массовая доля воды, %, не более | 0,5 | 0,5 | 0,5 | 0,5 | ГОСТ 14870, раздел 2 |
| Массовая доля полиэтиленгликолей, %, не более | 1,0 | 1,0 | 1,0 | 1,0 | По п. 4.7 настоящих ТУ |
| Массовая доля параизомера оксиэтилированного моноалкилфенола, %, не менее | 92 | 92 | 92 | 92 | По п. 4.8 настоящих ТУ |
Расчет степени (уровня) заполнения цистерны, автоцистерны, бочек производится с учетом полного использования ее вместимости (грузоподъемности) и объемного расширения продукта при возможном перепаде температур в пути следования, но не более 95% объема тары.
Маркировку железнодорожных цистерн, автоцистерн производят в соответствии с Правилами перевозки грузов, действующими на данный вид транспорта.
Транспортная, маркировка бочек, транспортных пакетов должна соответствовать требованиям ГОСТ 14192 с нанесением:
- манипуляционных знаков № 7 («Герметичная упаковка»), № 11 («Верх»);
- наименования предприятия-изготовителя и (или) его товарный знак;
- наименования продукта;
- номер партии;
- даты изготовления;
- обозначения настоящих ТУ;
- основных надписей, содержащих полное или условное зарегистрированное в установленном порядке наименование грузополучателя, наименование пункта назначения;
- дополнительных надписей, содержащих полное или условное зарегистрированное в установленном порядке наименование грузоотправителя, наименование пункта отправителя, надписи транспортных организаций;
- информационных надписей, содержащих массу нетто и брутто.
Для Неонолов знак опасности, номер ООН и классификационный шифр в транспортной маркировке не указывается (ГОСТ 19433, изм. 1).
2. ТРЕБОВАНИЯ БЕЗОПАСНОСТИ
2.1. По степени воздействия на организм человека согласно ГОСТ 12.1.007 Неонол АФ 9-4 относятся к «малоопасным веществам» (4 класс опасности), Неонол АФ 9-6, Неонол АФ 9-8, Неонол АФ 9-9, Неонол АФ 9-10, Неонол АФБ-10, Неонол АФ 9-12 и Неонол АФБ-12 относятся к умеренно опасным веществам (3 класс опасности).
2.2. Неонол АФ 9-4 оказывает раздражающее действие на неповрежденную кожу, через кожу не резорбирует, сенсибилизирующими свойствами не обладает. Коэффициент кумуляции при введении по методу Лима равен 9,6, кумулятивные свойства не выражены. При попадании в желудок оказывает слабораздражающее действие на слизистые оболочки желудочно-кишечного тракта, вызывает незначительные нарушения гиподинамики паренхиматозных органов. При попадании в глаза вызывает острый кератоконъюнктивит.
Продукт нелетуч, в ингаляционном отношении безопасен, в воздухе рабочей зоны не нормируется. Утвержденная величина ПДК в воде водоемов хозяйственно-бытового пользования 0,3 мг/дм3.
2.3. Неонол АФ 9-6 при попадании в желудок оказывает слабое раздражающее действие на слизистые оболочки желудочно-кишечного тракта и брюшной полости, вызывает гемодинамические сдвиги в паренхиматозных органах. Кумулятивные свойства не выражены, коэффициент кумуляции равен 5. На неповрежденную кожу оказывает слабое раздражающее действие; сенсибилизирующим и кожно-резорбтивным действиями не обладает. При попадании в глаза вызывает острый кератоконъюнктивит. Гонадотропным, эмбриотропным и тератогенным действиями при введении в желудок крысам в дозах от 0,01 до 0,1 ДЛ50 не обладает.
Продукт нелетуч, в ингаляционном отношении безопасен, в воздухе рабочей зоны не нормируется.
Утвержденная величина ПДК в воде водоемов хозяйственно-бытового пользования составляет 0,3 мг/дм3, рыбохозяйственного назначения (по органолептическому показателю) - 0,2 мг/дм3:
2.4. Неонол АФ 9-8, Неонол АФ 9-9, Неонол АФ 9-10, Неонол АФБ-10, Неонол АФ 9-12 и Неонол АФБ-12 при длительном попадании в желудок могут оказывать неблагоприятное воздействие на нервную систему и на слизистую оболочку желудочно-кишечного тракта, не вызывают раздражение неповрежденной кожи.
Кожно-резорбтивными и сенсибилизирующими свойствами не обладают, не оказывают неблагоприятного воздействия на репродуктивную функцию организма (эмбриотропное, гонадотропное и тератогенное). Неонол АФ 9-8, Неонол АФ 9-9, Неонол АФ 9-10, Неонол АФБ-10, Неонол АФ 9-12 и Неонол АФБ-12 обладают средневыраженной способностью кумуляции. При попадании в глаза вызывают кератоконъюнктивит. Неонол АФ 9-8, Неонол АФ 9-9, Неонол АФ 9-10, Неонол АФБ-10, Неонол АФ 9-12 и Неонол АФБ-12 относятся к нелетучим продуктам. Их температура кипения выше 280 °С (КВИОЗ). В воздух рабочей зоны продукты не попадают, ПДК в воздухе рабочей зоны не регламентируется.
Для Неонола АФ 9-8, Неонола АФ 9-9, Неонола АФ 9-10, Неонола АФБ-10, Неонола АФ 9-12 и Неонола АФБ-12 величина ПДК в воде водоемов:
- хозяйственно-бытового пользования (по органолептическим показателям) составляет 0,1 мг/дм3;
- рыбохозяйственного назначения составляет 0,25 мг/дм3.
Неонол АФ 9-8, Неонол АФ 9-9, Неонол АФ 9-10, Неонол АФБ-10, Неонол АФ 9-12 и Неонол АФБ-12 слабо реакционноспособны. По стабильности (степени биохимического распада) относятся к 3 классу - умеренно стабильные (по Красовскому ПН.).
2.5. При работе с Неонолом АФ 9-4, Неонолом АФ 9-6, Неонолом АФ 9-8, Неонолом АФ 9-9, Неонолом АФ 9-10, Неонолом АФБ-10, Неонолом АФ 9-12 и Неонолом АФБ-12 следует пользоваться средствами индивидуальной защиты: одежда специальная, защитная, средства индивидуальной защиты ног и рук по ГОСТ 12.4.103.
Защита органов дыхания по ГОСТ 12.4.034. При разливе и в случае распыления продукта в виде аэрозоля в условиях производства применяют противогаз ФГ-2 с коробкой А, БКФ (с учетом возможного наличия паров окиси этилена); при разливе продуктов в условиях потребления - противопылевые маски типа ФА, ШБ-1, «Лепесток», респиратор РПГ-67, РУ-60М с патроном марки А.
Все работающие с Неонолами должны проходить предварительные и периодические медицинские осмотры в соответствии с приказом Минздрава РФ №90 от 14.03.96.
Производственные помещения должны быть оборудованы приточно-вытяжной вентиляцией согласно СНиП 2.04.05-91 и ГОСТ 12.4.021.
Во избежание загрязнения воздуха производственных помещений аэрозолями продукта необходимо систематически контролировать герметичность емкостей, оборудования, коммуникаций и средств отбора проб. Герметичность оборудования проверяется в соответствии с «Правилами устройства и безопасной эксплуатации сосудов, работающих под давлением», утвержденных Госгортехнадзором России 18.04.95 (с изменениями и дополнениями от 01.10.97).
Чистота воздуха рабочих помещений обеспечивается приточно-вытяжной вентиляцией.
Разлитые продукты засыпают песком и убирают механическим путем или смывают водой из шланга. Промывные воды направляют на установку концентрирования, а затем сжигания, либо (после необходимого разбавления) - в систему биологического разложения.
2.6. Неонол АФ 9-4, Неонол АФ 9-6, Неонол АФ 9-8, Неонол АФ 9-9, Неонол АФ 9-10, Неонол АФБ-10, Неонол АФ 9-12, Неонол АФБ-12 - горючие вещества. Показатели пожароопасности, определяемые по ГОСТ 12.1.044, приведены в табл. 3.
| Показатели пожароопасности | Неонол АФ 9-4 | Неонол АФ 9-6 | Неонол АФ 9-8 | Неонолы АФ 9-9, АФ 9-10, АФБ-10 | Неонолы АФ 9-12 и АФБ-12 |
|---|---|---|---|---|---|
| 1 | 2 | 3 | 4 | 5 | 6 |
| Температура вспышки, °С, не более | Отсутствует до начала вспенивания | Отсутствует до начала вспенивания | |||
| - в открытом тигле - в закрытом тигле | 243 218 | 258 224 | Не наблюдается | 245 245 | 240 240 |
| Температура воспламенения, °С, не ниже | 255 | 283 | Не наблюдается | 245 | 240 |
| Температура самовоспламенения, °С, не ниже | 409 | 397 | 460 | 395 | 412 |
В процессе производства и при использовании Неонола АФ 9-4, Неонола АФ 9-6, Неонола АФ 9-8, Неонола АФ 9-9, Неонола АФ 9-10, Неонола АФБ-10, Неонола АФ 9-12, Неонола АФБ-12 запрещается применение открытого огня.
В процессе транспортирования Неонолов по трубопроводам, при перемешивании в реакторах, при наполнении емкостей и т.д. возможно накопление зарядов статического электричества, что может привести к пожарам. В связи с этим необходимо предусмотреть мероприятия, обеспечивающие безопасность условий работы в соответствии с правилами защиты от статического электричества в производствах химической, нефтехимической и нефтеперерабатывающей промышленности.
Налив жидкости свободнопадающей струей не допускается.
Емкости для хранения веществ, реакторы, трубопроводы, насосы и другое оборудование подлежат заземлению. Заземление узлов должно осуществляться в соответствии с требованиями ГОСТ 12.1.018.
Средства пожаротушения:
- при загорании небольшого количества продуктов используют пенные,углекислотные огнетушители, песок и воду;
- при загорании продукта на значительной площади применяют тонкораспыленную воду, воздушно-механическую или химическую пену.
Технология производства Неонолов АФ 9-4, АФ 9-6, АФ 9-8, АФ 9-9, АФ 9-10, АФБ-10, АФ 9-12 и АФБ-12 может быть отнесена к практически безотходной технологии.
В процессе производства, хранения и использования Неонолов вторичные опасные соединения не образуются. Неонол АФ 9-4, Неонол АФ 9-6, Неонол АФ 9-8, Неонол АФ 9-9, Неонол АФ 9-10, Неонол АФБ-10, Неонол АФ 9-12, Неонол АФБ-12 содержат в незначительных количествах примеси полиэтиленгликолей, воды и уксуснокислого натрия, которые при хранении не испаряются и не образуют летучие продукты.
В процессе производства оксиэтилированных алкилфенолов образуются загрязненные сточные воды от вакуум-насосов и установки обезвоживания смеси моноалкилфенолов и катализатора, а также промывные воды от периодических зачисток аппаратов и трубопроводов. Все химические загрязненные сточные воды направляются на установку концентрирования, откуда сконцентрированные воды идут на сжигание, а условно очищенные воды утилизируются и частично направляются на доочистку в систему биологических очистных сооружений. ОДУ сточных вод, направляемых на биологическую очистку, не должно превышать 30 мг/дм3.
При производстве имеются газовые выбросы от вакуум-насосов, из аспирационных трубопроводов, емкостей и аппаратуры, содержащие азот, пары воды, а также следы окиси этилена и низкомолекулярных продуктов оксиэтилирования.
Существующая система очистки газовых выбросов в производстве Неонолов обеспечивает снижение в них окиси этилена до уровня допустимых норм. Все имеющиеся газовые сдувки направляются в промывную колонну, где за счет циркуляции поглотительного раствора осуществляется очистка газовых выбросов от вредных веществ. Отходящий газ из промывной колонны содержит только азот, водяной пар и эпизодически окись этилена в допустимых пределах (не более 0,5 мг/дм3).
По мере необходимости поглотительный раствор из системы циркуляции направляется на концентрирование и затем сжигается до двуокиси углерода и воды.
Часть поглотительного раствора, а также промывные воды от установки обезвоживания смеси моноалкилфенолов и катализатора и от зачисток аппаратов и трубопроводов после концентрирования утилизируется в виде условно очищенной воды и направляются на доочистку в систему биологических очистных сооружений.
Методы и средства измерения и правила контроля загрязняющих веществ в выбросах в окружающую среду должны обеспечивать выполнение ГОСТ 17.2.3.01 и ГОСТ 17.2.3.02. Для количественного определения Неонолов в выбросах должна использоваться «Методика выполнения измерений массовой концентрации неионогенных ПАВ в пробах сточных вод экстракционно-фотометрическим методом» (ПНД Ф 14.1.14-95), утвержденная зам. министра охраны окружающей среды и природных ресурсов РФ.
3. ПРАВИЛА ПРИЕМКИ
3.1. Неонол АФ 9-4, Неонол АФ 9-6, Неонол АФ 9-8, Неонол АФ 9-9, Неонол АФ 9-10, Неонол АФБ-10, Неонол АФ 9-12 и Неонол АФБ-12 принимает отдел технического контроля предприятия-изготовителя в соответствии с требованиями настоящих технических условий.
3.2. Неонолы представляют к приемке партиями. Партией считают любое количество продукта, отправленное одновременно в один адрес и оформленное одним документом о качестве. При отгрузке продукта в цистернах за партию принимают каждую цистерну.
3.3. Допускается у изготовителя отбор проб продукта из товарного резервуара, при этом результаты испытаний распространяются на всю партию продукта, отгружаемого из данного резервуара, в том числе и в цистернах.
3.4. Каждая поставляемая партия продукта должна сопровождаться документом (паспортом), удостоверяющим его качество в соответствии с требованиями настоящих технических условий. В документе (паспорте) должно быть указано:
- наименование предприятия-изготовителя и(или) его товарный знак;
- наименование продукта, его марку;
- номер партии и количество мест в партии;
- масса нетто;
- обозначение настоящих ТУ;
- дата изготовления;
- результаты проведенных анализов и (или) подтверждение о соответствии качества Неонолов требованиям настоящих ТУ;
- заключение ОТК.
3.5. При получении неудовлетворительных результатов, приемо-сдаточных испытаний хотя бы по одному показателю, по нему проводят повторные испытания вновь отобранной пробы на удвоенной выборке или удвоенном объеме пробы при транспортировании в железнодорожных цистернах и контейнерах.
Результаты повторных испытаний являются окончательными и распространяются на всю партию.
3.6. Показателям: «Массовая доля полиэтиленгликолей» для неонолов всех марок, «Массовая доля присоединенной окиси этилена» для неонолов всех марок, кроме АФ 9-4, АФ 9-6; «Массовая доля пара-изомера оксиэтилированного моноалкилфенола» в неонолах АФБ-10, АФБ-12, проводят периодические испытания не реже одного раза в квартал.
При получении неудовлетворительных результатов периодических испытаний по указанным показателям, изготовитель переводит испытания по ним в категорию приемо-сдаточных до получения положительных результатов, но не менее чем на трех партиях подряд.
При возникновении разногласий с потребителем по оценке качества продукта по показателю «Массовая доля полиэтиленгликолей» испытания проводить в соответствии с методикой, приведённой в приложении № 1.
4. МЕТОДЫ ИСПЫТАНИЙ
4.1. Отбор проб
Отбор проб производят по ГОСТ 2517. Объём усредненной пробы - не менее 500 см3. Отбор точечных проб из ёмкостей, цистерн осуществляют с уровня, расположенного на высоте 1/3 диаметра ёмкости от дна металлическим переносным пробоотборником по ГОСТ 2517 (черт. 3 или 6). Допускается применение других пробоотборников, обеспечивающих отбор пробы с указанного Уровня.
При отгрузке продукта в таре потребителя, отбор проб из последней не производится.
Паспорт оформляется по результатам испытаний продукта из резервуара хранения продукции.
При определении показателей и норм качества допускается применение приборов, посуды, реактивов отечественного и импортного изготовления с аналогичными техническими и метрологическими характеристиками, обеспечивающими заданную точность измерения в соответствии с требованиями настоящих ТУ.
4.2. Определение внешнего вида
Внешний вид продукта определяют визуально. Для этого в цилиндр из бесцветного стекла диаметром (15–30) мм, помещают 50 см3 предварительно нагретого до (40±10) °С продукта. Содержимое цилиндра охлаждают до 25 °С и просматривают в проходящем свете на белом фоне при дневном освещении или освещении лампой дневного света.
4.3. Определение цвета
Испытание неонолов на цвет проводить согласно ГОСТ 18522. Определение цвета Неонола АФ 9-12 и Неонола АФБ-12 проводят в расплавленном состоянии при температуре от 45 до 55 °С.
4.4. Определение температуры помутнения Неонола АФ 9-8, Неонола АФ 9-9, Неонола АФ 9-10, Неонола АФБ-10, Неонола АФ 9-12 и Неонола АФБ-12
4.4.1. Средства измерений, посуда, реактивы
весы лабораторные общего назначения по ГОСТ 24104, с пределомвзвешивания 500 г, 4-го класса точности;
термометр стеклянный ТН-4 с ценой деления 1 °С по ТУ 92-887.019;
колба мерная 2-100-2 по ГОСТ 1770;
колба коническая Кн-2-250-34 ТХС по ГОСТ 25336;
пробирка П2Т-31-113 ТС по ГОСТ 25336 или изготовленная изтермостойкого стекла диаметром от 31 до 33 мм, высотой от 125 до 130 мм, с развернутым краем;
цилиндр 1-50 по ГОСТ 1770;
вода дистиллированная по ГОСТ 6709;
глицерин по ГОСТ 6259 или масло вазелиновое медицинское по ГОСТ3164;
установка для определения температуры помутнения (рис 1);
плитка электрическая с закрытой спиралью любой конструкции по ГОСТ14919 или по другой действующей нормативной документации.
4.4.2. Приготовление водного раствора продукта
В стакан вместимостью 50 см3 вносят (1,0±0,1) г анализируемого продукта, взвешенного с точностью до второго десятичного знака, приливают (20±1) см3 дистиллированной воды, нагретой до (60±10) °С, содержимое стакана перемешивают стеклянной палочкой до полного растворения навески. Раствор количественно переносят в мерную колбу вместимостью 100 см3. Стакан и палочку трижды ополаскивают по (20±1) см3 дистиллированной воды, нагретой до (60±10) °С, сливая промывные воды в ту же колбу с раствором пробы. После охлаждения до комнатной температуры содержимое колбы доливают до метки дистиллированной водой и тщательно перемешивают.
4.4.3. Проведение измерений
30 см3 приготовленного раствора отмеривают цилиндром и вносят в пробирку (рис. 1, поз. 2). Пробирку закрывают пробкой (поз. 3) с тремя отверстиями. В центральное отверстие пробирки вставляют термометр (поз. 4) так, чтобы низ ртутного баллона находился на расстоянии от 5 до 10 мм от дна пробирки. Во второе отверстие пробирки вставляют кольцевую мешалку (поз. 5). Третье отверстие служит для сообщения с атмосферой.
Пробирку помещают в коническую колбу (поз. 1) вместимостью 250 см3, заполненную наполовину объема глицерином или вазелиновым маслом с комнатной температурой. При этом пробирка бортиками должна удерживаться на горле колбы. Расстояние от дна пробирки до дна колбы должно быть от 5 до 10 мм.
Установку (рис. 1) помещают на электрическую плитку, покрытую асбестовой пластинкой или металлической сеткой с нанесенным асбестом и плавно нагревают колбу при периодическом помешивании содержимого пробирки кольцевой мешалкой до резкого помутнения анализируемого раствора. Скорость нагрева - 2 °С в минуту.
За температуру помутнения принимают ту температуру, при которой визуально наблюдается резкая потеря видимости баллона ртутного термометра внутри пробирки.
Значения показателей точности метода определения температуры помутнения при доверительной вероятности 0,95 представлены в табл. 4.
| Температура помутнения Неонолов АФ 9-8, АФ 9-9, АФ 9-10, АФБ-10, АФ 9-12, АФБ-12, °С | Сходимость, °С | Воспроизводимость, °С |
|---|---|---|
| от 29 до 90 | 1,5 | 2,5 |
4.5. Выполнение измерений показателя активности водородных ионов (pH) в водно-спиртовой смеси маслорастворимых НПАВ (для Неонола АФ 9-4 и Неонола АФ 9-6)
4.5.1. Средства измерений, посуда, реактивы
весы лабораторные общего назначения по ГОСТ 24104 с наибольшим пределом взвешивания 500 г;
термометр стеклянный, ТНЗ, ТН1-1 по ТУ 92-887.019;
иономер И-130.2М.1 по действующей нормативной документации;
индикаторный стеклянный электрод типа ЭСЛ-43-07; ЭСЛ-63-07 подействующей нормативной документации;
сравнительный хлорсеребряный электрод типа ЭВЛ-1МЗ по действующейнормативной документации;
стакан В-2-100ТХС по ГОСТ 25336;
стакан Н-2-100 ТС по ГОСТ 25336;
цилиндр 1-100 по ГОСТ 17/0;
баня водяная по ТУ 46-22-608;
фиксаналы для приготовления буферных растворов для pH-метрии по ГОСТ 4919.2;
вода дистиллированная по ГОСТ 6709, свежепрокипяченая, с pH 6,2–7,2;
спирт этиловый ректификованный технический по ГОСТ 18300.
4.5.2. Подготовка к измерениям
4.5.2.1. Подготовка pH-метра
pH-метр и электроды подготавливают к работе в соответствии с инструкцией, прилагаемой к прибору. Затем прибор настраивают по буферным растворам. Проверку pH-метра по буферным растворам осуществляют до и после выполнения испытания.
4.5.2.2. Приготовление водного раствора этанола с массовой долей 10% Смешивают 20 см3 этилового спирта с 142 см3 дистиллированной воды, отмеренные цилиндром.
4.5.3. Выполнение измерений
В стеклянный стакан вместимостью 100 см3 вносят (1,0±0,1) г анализируемого продукта, взвешенного с записью результатов до второго десятичного знака, приливают цилиндром 100 см3 водного раствора этилового спирта с массовой долей этанола 10%. Смесь при перемешивании стеклянной палочкой нагревают на водяной бане с температурой от 50 до 60 °С до полного растворения навески. Нагретую эмульсию охлаждают до (20,0±0,5) °С и в стакан с эмульсией погружают электроды, предварительно промытые дистиллированной водой, затем ополоснутые эмульсией испытуемого продукта, измеряют pH в соответствии с ГОСТ 22567.5.

4.5.4. Обработка результатов измерений
За результат измерений принимают среднее арифметическое двух параллельных наблюдений.
Показатели точности метода определения концентрации водородных ионов (pH) Неонола АФ 9-4 или Неонола АФ 9-6 при доверительной вероятности 0,95 приведены в табл. 5.
| Пределы измерений, pH | Сходимость | Воспроизводимость |
|---|---|---|
| от 5,0 до 10,0 | 0,1 | 0,5 |
4.6. Выполнение измерений массовой доли присоединенной окиси этилена
Измерение массовой доли присоединенной окиси этилена основано на установлении «фенольного индекса» и последующего нахождения массовой доли окиси этилена по градуировочному графику или табличным данным.
Метод измерения «фенольного индекса» основан на явлении потери прозрачности спиртового раствора, оксиэтилированного алкилфенола при добавлении к нему определенного объема водного раствора фенола в зависимости от количества присоединенной окиси этилена.
4.6.1. Средства измерения, вспомогательные материалы, посуда и реактивы
весы лабораторные общего назначения 2-го класса по ГОСТ 24104, с пределом взвешивания 200 г;
термометр стеклянный, ТН1-2, ТН-2 по ТУ 92-887.019;
термостат водяной или стеклянная водяная баня;
мешалка магнитная с регулируемой частотой вращения типа ММ-ЗМ по ТУ25-11-834;
магнитный перемешиватель длиной 20–30 мм;
баня масляная по ТУ 79-231;
баня стеклянная водяная по ТУ 46-22-608;
холодильник ХПТ-1-300-14/23 ХС по ГОСТ 25336;
насадка Кляйзена;
аллонж АИ-14/23-60 ТС по ГОСТ 25336;
хлоркальциевая трубка ТХ-П-1-17 по ГОСТ 25336;
штатив лабораторный по ТУ 64-1-707;
стакан В-1-100 ТС по ГОСТ 25336;
бюретка 1-1-2-50-0,1 по ГОСТ 29251;
пипетка 1-2-10 по ГОСТ 29169;
колба К-1-250-29/32 ТС по ГОСТ 25336;
колба П-1-100-14/23 ТС по ГОСТ 25336;
фенол синтетический технический по ГОСТ 23519, «марка А»;
кальций хлористый плавленый по ТУ 6-09-4711;
вода дистиллированная по ГОСТ 6709;
спирт этиловый ректификованный, технический по ГОСТ 18300.
Концентрация спирта влияет на результат измерений, поэтому проверка концентрации спирта на соответствие требованиям ГОСТ 18300 обязательна.
4.6.2. Подготовка к измерениям
4.6.2.1. Очистка фенола
Очистку фенола проводят перегонкой при атмосферном давлении. При соответствии фенола требованиям ГОСТ 23519 по показателю «внешний вид», допускается применение его без перегонки.
Собирают стандартную установку для перегонки органических продуктов при атмосферном давлении, состоящую из пришлифованных круглодонной колбы, насадки Кляйзена, термометра, нисходящего воздушного холодильника, аллонжа с хлоркальциевой трубкой и колбы-приемника. Для нагрева перегонной колбы используют глицериновую или масляную баню.
Объем фенола в колбе не должен превышать 2/3 объема перегонной колбы. Перед нагревом в перегонную колбу бросают несколько кусочков инертного пористого материала (керамики, пемзы и т.д.) размером от 2 до 3 мм для обеспечения спокойного кипения фенола.
Нагрев колбы регулируют таким образом, чтобы в течение всей перегонки скорость отбора конденсата - не превышала более 1 капли в секунду. Отбирают целевую фракцию, выкипающую при нормальном давлении в интервале температур от 183 до 186 °С.
4.6.2.2. Приготовление раствора фенола с массовой долей 2 %
В предварительно взвешенном стаканчике с притертой пробкой взвешивают (2,00±0,01) г фенола. Результаты взвешиваний записывают до второго десятичного знака. Затем навеску фенола растворяют в 98 см3 дистиллированной воды. Для ускорения растворения фенола раствор нагревают до температуры (55±5) °С. После охлаждения до комнатной температуры раствор используют для титрования. Приготовленный раствор хранят в закрытом сосуде из темного стекла не более двух недель.
4.6.3. Выполнение измерений
Навеску анализируемого оксиэтилированного алкилфенола массой от 1,20 до 1,50 г, взвешенную с записью результатов до четвертого десятичного знака, растворяют в рассчитанном количестве этилового спирта в стакане. Объем этилового спирта (V), необходимый для растворения навески пробы, рассчитывают с точностью до 0,1 см3 по формуле:
\(V = 10 \cdot m,\)
где
V - объем этилового спирта, см3;
m - масса навески, г.
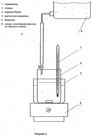
Собирают установку в соответствии с рис. 2. Пипеткой отбирают 10 см3 полученного раствора пробы и переносят его в стакан (поз. 2). В стакане с анализируемым раствором устанавливают термометр (поз. 1). Стакан с анализируемым раствором помещают в стеклянную водяную баню (поз. 3), которую устанавливают на магнитную мешалку (поз.4) и заполняют ее холодной водой так, чтобы уровень воды был выше уровня анализируемого раствора на (2±1) см. В летний период в баню с водой можно добавлять кусочки льда.
Титрование спиртового раствора анализируемого продукта водным раствором фенола проводят при постоянном перемешивании магнитной мешалкой и температуре (20,0±6,5) °С до появления устойчивого помутнения раствора. Отмечают объем раствора фенола, израсходованный на титрование 10 см3 раствора анализируемого образца.
Массовую долю присоединенной окиси этилена в Неоноле АФ 9-4, Неоноле АФ 9-6, Неоноле АФ 9-8, Неоноле АФ 9-9, Неоноле АФ 9-10, Неоноле АФБ-10, Неоноле АФ 9-12 и Неоноле АФБ-12 находят по табл. 6. Возможно использование градуировочной кривой (рис. 3), построенной по данным табл. 6.

| Объем 2 % фенола, израсходованного на титрование (фенольный индекс) см3 | Массовая доля окиси этилена, % мас. | Объем 2 % фенола, израсходованного на титрование (фенольный индекс) см3 | Массовая доля окиси этилена, % мас. | Объем 2 % фенола, израсходованного на титрование (фенольный индекс) см3 | Массовая доля окиси этилена, % мас. |
|---|---|---|---|---|---|
| 11,00 | 38,00 | 17,70 | 55,40 | 24,40 | 65,60 |
| 11,10 | 38,35 | 17,80 | 55,60 | 24,50 | 65,75 |
| 11,20 | 38,70 | 17,90 | 55,80 | 24,60 | 65,90 |
| 11,30 | 39,05 | 18,00 | 56,00 | 24,70 | 66,05 |
| 11,40 | 39,40 | 18,10 | 56,15 | 24,80 | 66,20 |
| 11,50 | 39,75 | 18,20 | 56,30 | 24,90 | 66,35 |
| 11,60 | 40,10 | 18,30 | 56,45 | 25,00 | 66,50 |
| 11,70 | 40,45 | 18,40 | 56,60 | 25,10 | 66,60 |
| 11,80 | 40,80 | 18,50 | 56,75 | 25,20 | 66,70 |
| 11,90 | 41,15 | 18,60 | 56,90 | 25,30 | 66,80 |
| 12,00 | 41,50 | 18,70 | 57,05 | 25,40 | 66,90 |
| 12,10 | 41,80 | 18,80 | 57,20 | 25,50 | 67,00 |
| 12,20 | 42,10 | 18,90 | 57,35 | 25,60 | 67,10 |
| 12,30 | 42,40 | 19,00 | 57,50 | 25,70 | 67,20 |
| 12,40 | 42,70 | 19,10 | 57,70 | 25,80 | 67,30 |
| 12,50 | 43,00 | 19,20 | 57,90 | 25,90 | 67,40 |
| 12,60 | 43,30 | 19,30 | 58,10 | 26,00 | 67,50 |
| 12,70 | 43,60 | 19,40 | 58,30 | 26,10 | 67,65 |
| 12,80 | 43,90 | 19,50 | 58,50 | 26,20 | 67,80 |
| 12,90 | 44,20 | 19,60 | 58,70 | 26,30 | 67,95 |
| 13,00 | 44,50 | 19,70 | 58,90 | 26,40 | 68,10 |
| 13,10 | 44,80 | 19,80 | 59,10 | 26,50 | 68,25 |
| 13,20 | 45,10 | 19,90 | 59,30 | 26,60 | 68,40 |
| 13,30 | 45,40 | 20,00 | 59,50 | 26,70 | 68,55 |
| 13,40 | 45,70 | 20,10 | 59,65 | 26,80 | 68,70 |
| 13,50 | 46,00 | 20,20 | 59,80 | 26,90 | 68,85 |
| 13,60 | 46,30 | 20,30 | 59,95 | 27,00 | 69,00 |
| 13,70 | 46,60 | 20,40 | 60,10 | 27,10 | 69,15 |
| 13,80 | 46,90 | 20,50 | 60,25 | 27,20 | 69,30 |
| 13,90 | 47,20 | 20,60 | 60,40 | 27,30 | 69,45 |
| 14,00 | 47,50 | 20,70 | 60,55 | 27,40 | 69,60 |
| 14,10 | 47,75 | 20,80 | 60,70 | 27,50 | 69,75 |
| 14,20 | 48,00 | 20,90 | 60,85 | 27,60 | 69,90 |
| 14,30 | 48,25 | 21,00 | 61,00 | 27,70 | 70,05 |
| 14,40 | 48,50 | 21,10 | 61,15 | 27,80 | 70,20 |
| 14,50 | 48,75 | 21,20 | 61,30 | 27,90 | 70,35 |
| 14,60 | 49,00 | 21,30 | 61,45 | 28,00 | 70,50 |
| 14,70 | 49,25 | 21,40 | 61,60 | 28,10 | 70,60 |
| 14,80 | 49,50 | 21,50 | 61,75 | 28,20 | 70,70 |
| 14,90 | 49,75 | 21,60 | 61,90 | 28,30 | 70,80 |
| 15,00 | 50,00 | 21,70 | 62,05 | 28,40 | 70,90 |
| 15,10 | 50,25 | 21,80 | 62,20 | 28,50 | 71,00 |
| 15,20 | 50,50 | 21,90 | 62,35 | 28,60 | 71,10 |
| 15,30 | 50,75 | 22,00 | 62,50 | 28,70 | 71,20 |
| 15,40 | 51,00 | 22,10 | 62,60 | 28,80 | 71,30 |
| 15,50 | 51,25 | 22,20 | 62,70 | 28,90 | 71,40 |
| 15,60 | 51,50 | 22,30 | 62,80 | 29,00 | 71,50 |
| 15,70 | 51,75 | 22,40 | 62,90 | 29,10 | 71,65 |
| 15,80 | 52,00 | 22,50 | 63,00 | 29,20 | 71,80 |
| 15,90 | 52,25 | 22,60 | 63,10 | 29,30 | 71,95 |
| 16,00 | 52,50 | 22,70 | 63,20 | 29,40 | 72,10 |
| 16,10 | 52,65 | 22,80 | 63,30 | 29,50 | 72,25 |
| 16,20 | 52,80 | 22,90 | 63,40 | 29,60 | 72,40 |
| 16,30 | 52,95 | 23,00 | 63,50 | 29,70 | 72,55 |
| 16,40 | 53,10 | 23,10 | 63,65 | 29,80 | 72,70 |
| 16,50 | 53,25 | 23,20 | 63,80 | 29,90 | 72,85 |
| 16,60 | 53,40 | 23,30 | 63,95 | 30,00 | 73,00 |
| 16,70 | 53,55 | 23,40 | 64,10 | 30,10 | 73,15 |
| 16,80 | 53,70 | 23,50 | 64,25 | 30,20 | 73,30 |
| 16,90 | 53,85 | 23,60 | 64,40 | 30,30 | 73,45 |
| 17,00 | 54,00 | 23,70 | 64,55 | 30,40 | 73,60 |
| 17,10 | 54,20 | 23,80 | 64,70 | 30,50 | 73,75 |
| 17,20 | 54,40 | 23,90 | 64,85 | 30,60 | 73,90 |
| 17,30 | 54,60 | 24,00 | 65,00 | 30,70 | 74,05 |
| 17,40 | 54,80 | 24,10 | 65,15 | 30,80 | 74,20 |
| 17,50 | 55,00 | 24,20 | 65,30 | 30,90 | 74,35 |
| 17,60 | 55,20 | 24,30 | 65,45 | 31,00 | 74,00 |

За результат измерения принимают среднее арифметическое значение двух параллельных наблюдений.
Значения показателей точности методики измерения массовой доли присоединенной окиси этилена по «фенольному индексу», при доверительной вероятности 0,95, представлены в табл. 7.
4.7. Выполнение измерений массовой доли полиэтиленгликолей (ПЭГ)
4.7.1. Вводная часть
Методика предназначена для анализа оксиэтилированных алкилфенолов с числом оксиэтильных групп от 4 до 12.
диапазон измеряемых концентрации, % масс. от 0,05 до 2,0;
минимально измеряемая концентрация, % масс. 0,05;
4.7.2. Метод измерения
Метод основан на экстракции ПЭГ водно-солевым раствором из раствора анализируемой пробы в уксусноэтиловом эфире и последующем фотоколориметрическом определении их по реакции с йодом, активированным хлористым барием. Измерению мешают неионогенные поверхностно-активные вещества.
4.7.3. Средства измерения, вспомогательные устройства, материалы и реактивы
весы лабораторные 2-го класса точности с наибольшим пределомвзвешивания 200 г по ГОСТ 24104;
секундомер по ГОСТ 8.423;
фотоэлектроколориметр ФЭК-56, КФК-2, КФК-3;
цилиндр 3-100, 1-50(250) по ГОСТ 1770;
колбы мерные 2-100-2 по ГОСТ 1770;
пипетки 1(2,3)-1(2)-2(5,10,20) по ГОСТ 29227 (ИСО 835/1);
стакан В-1-50(100, 1000) ТС по ГОСТ 25336;
делительная воронка ВД-1(3)-250 ХС по ГОСТ 25336;
барий хлористый по ГОСТ 4108, чда;
соляная кислота по ГОСТ 3118, чда;
эфир этиловый уксусной кислоты (этилацетат) по ГОСТ 22300, чда;
натрий хлористый по ГОСТ 4233, чда;
полиэтиленгликоль с молекулярной массой 1000 или 600 производства Австрии.
4.7.4. Требования безопасности
При выполнении измерений руководствуются общими правилами техники безопасности при работе в химической лаборатории.
4.7.5. Квалификация оператора
К выполнению измерений допускаются лица, имеющие квалификацию не ниже 4-го разряда.
4.7.6. Подготовка к выполнению измерений
4.7.6.1. Приготовление стандартных растворов ПЭГ
4.7.6.1.1. Приготовление основного раствора полиэтиленгликоля (раствор А)
Во взвешенный стаканчик вместимостью 50 см3 вносят лопаточкой от 0,2 до 0,3 г полиэтиленгликоля с относительной молекулярной массой 600 или 1000. Результаты взвешиваний записывают до четвертого десятичного знака. В стаканчик с полиэтиленгликолем вносят 25 см3 дистиллированной воды, растворяют при тщательном перемешивании, количественно переносят в мерную колбу вместимостью 50 см3, доводят объем раствора до метки при температуре 20 °С и тщательно перемешивают. Рассчитывают концентрацию раствора в мг/см3. Хранят не более 1 мес при температуре не выше 20 °С.
4.7.6.1.2. Приготовление стандартного раствора с содержанием ПЭГ 0,1 мг/см3 (раствор Б)
В мерную колбу вместимостью 100 см3 вносят пипеткой рассчитанный объем раствора А, доводят объем до метки дистиллированной водой при 20 °С и перемешивают. Объем раствора А, требуемый для разбавления, рассчитывают по формуле:
\(V = \frac{0,1 \cdot 100 \cdot 50}{m \cdot 1000},\)
где
V - объем раствора А, требуемый для разбавления, см3;
m - масса ПЭГ, взятая для приготовления раствора А, г;
0,1 - концентрация ПЭГ в приготовляемом растворе Б, мг/см3.
Применяют свежеприготовленным.
4.7.6.2. Приготовление разбавленного в соотношении 1:4 раствора соляной кислоты
Готовят растворением одного объема соляной кислоты в четырех объемах дистиллированной воды, приливая кислоту в воду.
4.7.6.3. Приготовление раствора хлористого бария с массовой долей 10 %. Готовят растворением (50,0±0,1) г хлористого бария в 450 см3 дистиллированной воды.
4.7.6.4. Приготовление раствора № 1
Готовят смешиванием раствора соляной кислоты, разбавленной дистиллированной водой в соотношение 1:4 (объемных), с раствором хлористого бария с массовой долей 10 % в объемном соотношении 1:1.
4.7.6.5. Приготовление раствора № 2
В стаканчике вместимостью 100 см3 взвешивают (25,0±0,1) г йодистого калия и растворяют в 25 см3 дистиллированной воды. В другом стаканчике вместимостью 100 см3 взвешивают (12,7±0,1) г металлического йода. В стаканчик с йодом вносят раствор йодистого калия и тщательно перемешивают до полного растворения йода в йодиде калия. Затем раствор количественно переносят в мерную колбу вместимостью 1 дм3, ополаскивая стаканчик, в котором растворяли йод, доводят до метки дистиллированной водой и тщательно перемешивают.
Раствор устойчив в течение 3 месяцев при хранении в темной склянке.
4.7.6.6. Приготовление рабочего раствора
Готовят смешением одного объема раствора № 1 и трех объемов раствора № 2. Рабочий раствор готовят ежедневно.
4.7.6.7. Приготовление раствора хлорида натрия с молярной концентрацией c(NaCl) = 5 моль/дм3 (292,2±0,1) г хлорида натрия помещают в химический стакан вместимостью 2 дм3 и растворяют в 950 см3 дистиллированной воды при нагревании, охлаждают до комнатной температуры, переливают в мерную колбу вместимостью 1000 см3, доводят до метки водой и перемешивают.
4.7.6.8. Приготовление раствора соли для контрольного опыта
В делительную воронку вносят 100 см3 раствора хлорида натрия, приготовленного по п. 4.7.6.7, 100 см3 этилацетата, встряхивают в течение 2 мин, отстаивают (5–10) мин. и сливают нижний слой (раствор соли) в чистую толстостенную склянку вместимостью 100 см3 и хранят для использования при проведении контрольного опыта. Раствор готовят заново при получении новой партии соли или этилацетата.
4.7.6.9. Построение градуировочного графика
В мерные колбы вместимостью 100 см3 наливают по 50 см3 дистиллированной воды, вносят 0; 0,5; 1,0; 1,5; 2,0; 2,5 см3 стандартного раствора ПЭГ с концентрацией 0,1 мг/см3, что соответствует содержанию ПЭГ 0; 0,05; 0,1; 0,15;0,2; 0,25 мг, перемешивают, добавляют пипеткой при перемешивании 10 см3 рабочего раствора, доводят до метки дистиллированной водой и снова перемешивают. Растворы выдерживают в темном месте 20 мин, перемешивают и замеряют оптическую плотность мутных растворов с желтым светофильтром (для ФЭК-56 λ = (572±10) нм, для КФК-2 λ = (590±10) нм, для КФК-3 λ = 570 нм) в кюветах с толщиной поглощающего слоя 20 мм по отношению к раствору контрольного опыта, не содержащего ПЭГ. Для каждой точки графика проводят 3 параллельных измерения и находят среднее арифметическое значение оптической плотности.
В аналогичных условиях проводят вторую градуировку, используя градуировочные растворы, приготовленные из другой партий стандартных растворов, находят среднее арифметическое из средних арифметических значений для каждой градуировки и по полученным данным строят градуировочный график, откладывая на оси ординат оптическую плотность растворов, на оси абсцисс - содержание ПЭГ в миллиграммах.
4.7.7. Выполнение измерений
В предварительно взвешенный стаканчик вместимостью 50 см3, вносят (2,0±0,1) г пробы и снова взвешивают. Результаты взвешиваний записывают до четвертого десятичного знака.
Пробу растворяют в 30 см3 этилацетата и количественно переносят в делительную воронку вместимостью 250 см3. Стакан дважды ополаскивают двумя порциями по 10 см3 этилацетата и переносят в ту же делительную воронку. К содержимому воронки добавляют 50 см3 раствора хлорида натрия с молярной концентрацией c(NaCl) = 5 моль/дм3 и перемешивают в течение 2 мин, периодически стравливая давление. Затем раствор выдерживают в покое в течение (5–10) мин и нижний солевой слой сливают в другую чистую воронку вместимостью 250 см3. Экстракцию ПЭГ повторяют 50 см3 раствора соли и в тех же условиях, сливая нижний слой в воронку с нижним слоем от первой экстракции.
В воронку с солевым экстратом приливают 50 см3 свежей порции этилацетата, встряхивают содержимое 2 мин, 10 мин выдерживают в покое и нижний слой (солевой раствор) сливают в мерную колбу вместимостью 100 см3, доливают до метки дистиллированной водой и перемешивают.
В три мерные колбы вместимостью 100 см3 вносят по 50 см3 дистиллированной воды, вносят такие объёмы солевого раствора полиэтиленгликоля, чтобы содержание ПЭГ в нём было в пределах от 0,075 до 0,2 мг (при массовой доле ПЭГ в пробе 1 % в расчете на ПЭГ с молекулярной массой 1000, объем солевого раствора составит от 0,5 до 1,0 см3), перемешивают, добавляют при перемешивании 10 см3 рабочего раствора, доводят до метки дистиллированной водой, снова перемешивают и ставят в тёмное место.
Примечание.
Если диапазон концентрации полиэтиленгликоля в пробе неизвестен, то с целью обеспечения оперативности аналитического контроля допускается анализ проводить следующим образом:
В три мерные колбы вместимостью 100 см3 наливают по 50 см3 дистиллированной воды, вносят три разных объёма солевого раствора полиэтиленгликоля, чтобы содержание ПЭГ в нём было в пределах от 0,075 до 0,2 мг, перемешивают, добавляют при перемешивании 10 см3 рабочего раствора, доводят до метки дистиллированной водой, снова перемешивают и ставят в тёмное место.
Одновременно готовят растворы для контрольных опытов с соответствующими объёмами солевого раствора, приготовленного по п. 4.7.6.8, относительно которых через 20 мин замеряют оптические плотности рабочих растворов. Замер производят в условиях построения градуировочного графика.
Содержание полиэтиленгликоля находят по градуировочному графику в мг.
4.7.8. Обработка результатов измерений
Массовую долю ПЭГ в анализируемом продукте в расчете на ПЭГ с молекулярной массой 1000 (600) рассчитывают по формуле:
\(V = \frac{C \cdot 100 \cdot 100}{m \cdot V \cdot 1000},\)
где
X - массовая доля ПЭГ в расчете на ПЭГ с молекулярной массой 1000 (600), %
с - содержание ПЭГ в фотометрируемом объеме, найденное по градуировочному графику, мг;
m - масса пробы, взятая на анализ, г;
V - объем солевого раствора, взятый на фотометрирование, см3.
Результаты отдельных наблюдений записывают до второго десятичного знака.
За результат измерения принимают среднее арифметическое результатов отдельных наблюдений, расхождение между которыми не превышает 0,05 % масс. Результат записывают до первого десятичного знака.
4.7.9. Нормы погрешности измерений
По результатам межлабораторных испытаний значения показателей точности содержания полиэтиленгликолей в оксиэтилированных алкилфенолах АФ 9-6, АФ 9-12 в диапазоне измеряемых концентраций от 0,4 до 1,6 % масс. с доверительной вероятностью 0,95 приведены в табл. 8
| Показатели точности | В условиях сходимости | В условиях воспроизводимости |
|---|---|---|
| 1 | 2 | 3 |
| Допускаемое расхождение между результатами параллельных наблюдений (dp), % масс. | 0,05 | 0,2 |
| Допускаемое расхождение между результатами измерения (dp), % масс. | ||
| Абсолютная погрешность результатов измерения (А), % масс. | 0,02 | 0,1 |
4.8. Измерение массовой доли орто- и пара-изомера оксиэтилированного моноалкилфенола.
4.8.1. Средства измерения, вспомогательные устройства, материалы и реактивы
хроматограф газовый с программируемой температурой термостатаколонок до 300 °С, типа «Цвет-100»;
данные хроматографа:
обогреваемый пламенно-ионизационный детектор;
две колонки из нержавеющей стали, длиной 3 м, диаметром 3 мм;
сорбент - силиконовый эластомер ХЕ-60, нанесенный на хроматон N-AW-HMDS фр. от 0,20 до 0,25 мм в количестве 5 % (вариант 1); или диэтиленгликоль-сукцинат (15 % от массы носителя), нанесенный на хромосорб W-AW (60–80) меш (вариант 2);
газ-носитель - азот по ГОСТ 9293, повышенной чистоты (вариант 1) или водород по ГОСТ 3022 марки А от электролизного генератора СГС-2 или другого источника (вариант 2);
лупа измерительная с ценой деления 0,1 мм по ГОСТ 25706;
весы лабораторные 2-го и 4-го классов по ГОСТ 24104 с пределом взвешивания 200 и 500 г;
баня водяная любого типа с температурой нагрева от 80 до 95 °С по ТУ 64-1-2850-80;
секундомер по ГОСТ 8.423;
эксикатор по ГОСТ 23932;
линейка измерительная металлическая по ГОСТ 427 с ценой деления 1 мм;
устройство интегрирующее для обсчета хроматограмм;
расходомер мыльно-пенный по ГОСТ 28723;
микрошприц типа МШ-1, МШ-10 по ТУ 2.833.105;
шкаф сушильный лабораторный с интервалом нагрева от 100 до 250 °С по ТУ 16-531-299-71;
тигель фарфоровый по ГОСТ 9147;
стакан химический типа В1-250ТС по ГОСТ 25336;
воронка делительная ВД-1-250ХС по ГОСТ 25336;
холодильник водяной ХПТ-1-300-14/23 ХС по ГОСТ 25336;
термометр ТН1-2, ТНЗ-2 по ТУ 92-887.019;
колба К-1-100-29/32 ТС по ГОСТ 25336;
шпатель по ГОСТ 9147;
фильтр беззольный «синяя лента» или плотный узкопористый для тонкихосадков №90 немецкого производства ТУ 6-09-1678-86.
натрия гидроокись по ГОСТ 4328;
калия гидроокись по ГОСТ 24363;
ацетон по ГОСТ 2603;
воздух сжатый по ГОСТ 17433;
натрий сернокислый по ГОСТ 4166;
хлороформ по ГОСТ 20015 или фармакопейный;
спирт этиловый гидролизный по ГОСТ 18300;
эфир диэтиловый фармакопейный;
вода дистиллированная по ГОСТ 6709;
гексан, ч по действующей нормативной документации.
4.8.2. Подготовка к измерениям
Отщепление оксиэтильной цепочки от оксиэтилированного изононилфенола производится следующим образом: в предварительно взвешенный тигель вносят (0,30±0,01) г оксиэтилированного изононилфенола любой марки, взвешивают с записью результатов до второго десятичного знака, добавляют 1,8 г гидроокиси калия и 2,0 г гидроокиси натрия. Для ускорения реакции перед взвешиванием гидроокись натрия и гидроокись калия тщательно измельчают. Содержимое тигля перемешивают стеклянной палочкой, помещают в сушильный шкаф и выдерживают от 30 до 40 минут при температуре от 180 до 200 °С. Затем тигель сплавом охлаждают в эксикаторе до комнатной температуры, добавляют 15 см3 дистиллированной воды и переносят содержимое тигля в делительную воронку. Тигель последовательно промывают 20 см3 дистиллированной воды, затем 5 см3 этилового спирта, сливая промывные растворы в ту же делительную воронку. Затем в воронку приливают 20 см3 смеси гексана и диэтилового эфира в соотношении 1:1; осторожно встряхивают в течение от 1 до 2 мин круговыми движениями в горизонтальной плоскости, не допуская образования эмульсии, отстаивают и сливают нижний слой в другую делительную воронку, в которую добавляют 20 см3 смеси гексана и диэтилового эфира для повторной экстракции. Нижний водный слой отбрасывают, углеводородно-эфирный экстракт первой воронки переносят во вторую воронку. Отделенный углеводородо-эфирный экстракт алкилфенолов промывают дистиллированной водой порциями по 10 см3 проверяя промывные воды по фенолфталеину до обесцвечивания их окраски, пропускают через фильтр с (3,0±0,1) г безводного сульфата натрия и раствор собирают в круглодонную колбу. Затем фильтр промывают 10 см3 диэтилового эфира, сливая фильтрат в ту же колбу.
К колбе с экстрактом присоединяют холодильник и отгоняют растворитель на водяной бане при температуре от 80 до 90 °С, оставив в колбе от 1 до 2 см3 масляной фазы. Остаток переносят в склянку вместимостью 10 см3. Колбу трижды промывают гексаном 3-мя порциями по 1 см3 и растворитель также присоединяют к остатку. Склянку помещают в водяную баню с температурой от 80 до 90 °С и выпаривают растворитель оставляя в склянке от 0,2 до 0,5 см3 экстрагированного алкилфенола, который разбавляют ацетоном в соотношении 1:1 и используют для хроматографирования.
4.8.3. Выполнение измерений
Измерение массовой доли пара- и орто-изомеров в моноалкилфенолах на основе тримеров пропилена.
4.8.3.1. Вариант 1
Метод основан на хроматографическом разделении изононилфенолов на пара- и орто-изомеры на силиконовом эластомере ХЕ-60, нанесенном на хроматон N-AW-HMDS с последующей регистрацией пламенно-ионизационным детектором.
4.8.3.1.1. Подготовка к измерениям
Колонки, наполненные сорбентом, устанавливают в термостат хроматографа и, не подключая к детектору, стабилизируют их в потоке азота со скоростью 1 дм3/ч, при програмировании температуры термостата колонок от 50 до 220 °С со скоростью 1 °С/мин.
Время продувки при конечной температуре - не менее 72 ч.
4.8.3.1.2. Условия хроматографического разделения:
температура термостата колонок (220±3) °С;
температура испарителя (260±3) °С;
температура детектора (230±3) °С;
расход газа-носителя от 2 до 2,5 см3/мин;
расход воздуха и водорода согласно инструкции к хроматографу;
скорость движения диаграммной ленты 1,5 см/мин;
объем вводимой пробы (раствор в ацетоне 1:1) (1–2) мм;
4.8.3.1.3. Обработка результатов
Массовую долю пара- и ортононилфенолов (Xi) рассчитывают методом нормировки площадей по формуле:
\(X_i = \frac{S_i}{\sum S_i} \cdot 100,\)
где
Xi - массовая доля измеряемого компонента, %;
Si - площадь пика i-того компонента, мм2;
ΣSi - сумма приведенных площадей пиков i-тых компонентов;
Si рассчитывают по формуле:
\(S_i = h_i \cdot a_i \cdot M_i,\)
где
hi - высота пика i-того компонента, мм;
аi - ширина пика i-того компонента на половине высоты, измеренная от внешнего контура одной стороны пика до внутреннего контура другой стороны пика, мм;
Mi - масштаб записи, пика i-того компонента компонента.
4.8.3.2. Вариант 2 (контрольный)
Метод основан на хроматографическом разделении изононилфенолов на пара- и орто-изомеры на диэтиленгликольсукцинате, нанесенном на хромосорб W-AW с последующей регистрацией пламенно-ионизационным детектором.
4.8.3.2.1. Подготовка к анализу
Расчетное количество жидкой фазы 15 % от массы носителя (диэтиленгли-кольсукцинат) растворяют в стакане в горячем хлороформе до полного растворения, после чего в раствор при перемешивании высыпают взвешенное количество твердого носителя - хромосорба W-AW 60–80 меш.
Растворитель выпаривают при непрерывном перемешивании содержимого стакана на водяной бане с температурой (65±5) °С. Затем сорбент сушат в сушильном шкафу при температуре 100 °С до сыпучего состояния. Подготовленный сорбент засыпают в предварительно промытую хлороформом и этиловым спиртом хроматографическую колонку при непрерывном и осторожном постукивании по ней для равномерного ее заполнения.
Спиральные колонки заполняют с помощью вакуума. Колонку после заполнения ее сорбентом стабилизируют в термостате хроматографа без подключения к детектору в течение от 20 до 25 часов при 190 °С и расходе азота 50 см3/мин (можно при многократном программировании температуры от 100 до 190 °С), а затем соединяют с детектором.
4.8.3.2.2. Условия газохроматографического разделения:
температура колонки (190±3) °С;
температура детектора и испарителя (300±3) °С;
объем вводимой пробы (раствор в ацетоне 1:1) от 2,0 до 2,5 мм3;
чувствительность электрометра 50 • 10-10 А;
скорость двжения диаграммной бумаги 200 мм/ч
Компоненты анализируемой смеси выходят на хроматограмме двумя разделенными группами пиков в последовательности, изображенной на рис. 4. Первая группа пиков принадлежит орто-изомерам моноалкилфенолов, вторая группа пиков принадлежит пара-изомерам моноалкилфенолов.
4.8.3.2.3. Обработка результатов
Содержание пара- и орто-изомеров в моноалкилфенолах рассчитывают методом внутренней нормализации без введения калибровочных коэффициентов, которые имеют одинаковую величину. Площади пиков пара- и орто-изомеров в моноалкилфенолах определяют путем взвешивания вырезанных из хроматограммы пиков на аналитических весах. Взвешивания производят с записью результатов до четвертого десятичного знака.
Допускается обсчет хроматограмм с помощью интегрирующего устройства.
Статистически обработанные результаты измерения пара- и орто-изомеров в оксиэтилированных моноалкилфенолах после отщепления оксиэтильной цепочки приведены в табл. 9.
| Наименование компонентов | Диапазон измеряемых массовых долей, % | Допускаемые расхождения результатов параллельных наблюдений: Rmaх=2; a=0,95 |
|---|---|---|
| Орто-изомеры изононилфенолов | от 5 до 20 | 1,1 |
| Пара-изомеры изононилфенолов | от 70 до 95 | 1,9 |

5. ТРАНСПОРТИРОВАНИЕ И ХРАНЕНИЕ
5.1. Неонолы АФ 9-4, АФ 9-6, АФ 9-8, АФ 9-9, АФ 9-10, АФБ-10, АФ 9-12, АФБ-12 транспортируются в железнодорожных цистернах с нижним сливом (ГОСТ 1510, приложение 1, п. 18.2), в танк-контейнерах с обогревом, в соответствии с «Правилами перевозки грузов», действующими на железнодорожном транспорте.
Для транспортировки Неонолов применяются цистерны с рубашкой обогрева моделей 15-898, 15-1566, 15-1603, изготовленные из материала 09Г2С. Внутренняя поверхность цистерн металлизирована цинком толщиной 0,1–0,15 мм (для моделей 15-898, 15-1603).
По согласованию с потребителем допускается перевозка самовывозом в автоцистернах и стальных бочках по ГОСТ 6247 вместимостью 100, 200, 275 дм3.
В товаро-сопроводительной документации должна указываться аварийная карточка № 904.
5.2. Согласно квалификации опасных грузов по ГОСТ 19433 Неонолы АФ 9-4, АФ 9-6, АФ 9-8, АФ 9-9, АФ 9-10, АФ 9-12, АФБ-10, АФБ-12 отнесены к классу 9, подклассу 9.1, классификационный шифр 9153, номер ООН 3082; (Рекомендация по перевозке грузов, 8-е пересмотренное издание, ООН, Нью-Йорк - Женева).
5.3. Условия хранения
Неонолы у изготовителя хранят в стальных емкостях под азотной подушкой, в условиях, исключающих попадание в продукт механических тел и влаги. Допускается кратковременный разогрев продукта до температуры 130 °С для перекачки и дозирования. Способ разогрева - бесконтактный, в системе «горячего» размыва. Многократное застывание и разогрев до температуры от 100 до 130 °С на качество продукта не влияет. У потребителя хранение продукта - в таре, исключающей попадание влаги и механических тел.
6. ГАРАНТИЯ ИЗГОТОВИТЕЛЯ
Изготовитель гарантирует соответствие качества Неонолов АФ 9-4, АФ 9-6, АФ 9-8, АФ 9-9, АФ 9-10, АФБ-10, АФ 9-12, АФБ-12 требованиям настоящих технических условий при соблюдении условий транспортировки и хранения.
Гарантийный срок хранения Неонола АФ 9-4, Неонола АФ 9-6, Неонола АФ 9-8, Неонола АФ 9-9, Неонола АФ 9-10, Неонола АФБ-10, Неонола АФ 9-12, Неонола АФБ-12 - один год со дня изготовления. По истечении гарантийного срока хранения продукт анализируется перед каждым применением на соответствие качества требованиям настоящих технических условий и при установлении соответствия может быть использован потребителем по назначению.
ПЕРЕЧЕНЬ НОРМАТИВНОЙ И ТЕХНИЧЕСКОЙ ДОКУМЕНТАЦИИ
на которую даны ссылки в технических условиях
| Обозначение нормативного документа | Наименование нормативного документа |
|---|---|
| ГОСТ 8.423-81 | Секундомеры механические. Методы и средства измерения. |
| ГОСТ 12.1.007-76 | ССБТ. Вредные вещества. Классификация и общие требования безопасности |
| ГОСТ 12.1.018-93 | ССБТ. Пожаровзрывобезопасность статического электричества. Общие требования |
| ГОСТ 12.1.044-89 | ССБТ. Пожаровзрывоопасность веществ и материалов. Номенклатура показателей и методы их определения |
| ГОСТ 12.4.103-83 | ССБТ. Одежда специальная защитная, средства индивидуальной защиты ног и рук. Классификация |
| ГОСТ 12.4.034-85 | ССБТ. Средства индивидуальной защиты органов дыхания. Классификация и маркировка |
| ГОСТ 17.2.3.01-86 | Охрана природы. Атмосфера. Правила контроля качества воздуха населенных пунктов |
| ГОСТ 17.2.3.02-78 | Охрана природы. Атмосфера. Правила установления допустимых выбросов вредных веществ промышленными предприятиями |
| ГОСТ 427-75 | Линейки измерительные металлические. Технические условия |
| ГОСТ 1510-84 | Нефть и нефтепродукты. Маркировка, упаковка, транспортирование и хранение |
| ГОСТ 1770-74Е | Посуда мерная лабораторная стеклянная. Цилиндры, мензурки, колбы и пробирки. Технические условия |
| ГОСТ 2517-85 | Нефть и нефтепродукты. Методы отбора проб |
| ГОСТ 2603-79 | Ацетон. Технические условия |
| ГОСТ 3022-80 | Водород технический. Технические условия |
| ГОСТ 3118-77 | Кислота соляная. Технические условия |
| ГОСТ 3164-78 | Масло вазелиновое медицинское. Технические условия |
| ГОСТ 4108-72 | Барий хлорид 2-водный. Технические условия |
| ГОСТ 4166-76 | Натрий сернокислый. Технические условия |
| ГОСТ 4328-77 | Натрия гидроокись. Технические условия |
| ГОСТ 4233-77 | Натрий хлористый. Технические условия |
| ГОСТ 4517-87 | Реактивы. Методы приготовления вспомогательных реактивов и растворов, применямых при анализе |
| ГОСТ 4919.2-77 | Реактивы и особо чистые вещества. Методы приготовления буферных растворов |
| ГОСТ 6259-75 | Глицерин. Технические условия |
| ГОСТ 6247-79 | Бочки стальные сварные с обручами катания на корпусе. Технические условия |
| ГОСТ 6709-72 | Вода дистиллированная. Технические условия |
| ГОСТ 9147-80Е | Посуда и оборудование лабораторные фарфоровые. Технические условия |
| ГОСТ 9293-74 | Азот газообразный и жидкий. Технические условия |
| ГОСТ 14191-83Е | Электроплиты, электроплитки и жарочные шкафы бытовые. Общие технические условия |
| ГОСТ 14192-96 | Маркировка грузов |
| ГОСТ 14870-77 | Продукты химические. Методы определения воды |
| ГОСТ 14871-76 | Методы определения цветности жидких химических реактивов и растворов реактивов |
| ГОСТ 15150-69 | Машины, приборы и другие технические изделия. Исполнения для различных климатических районов. Категория, условия эксплуатации, хранения и транспортирования в части воздействия климатических факторов внешней среды |
| ГОСТ 17433-80 | Промышленная чистота. Сжатый воздух. Классы загрязненности |
| ГОСТ 18300-87 | Спирт этиловый ректификованный технический. Технические условия |
| ГОСТ 18522-93 | Смолы и пластификаторы жидкие. Методы определения цветности |
| ГОСТ 19433-88 | Грузы опасные. Классификация и маркировка |
| ГОСТ 20015-88 | Хлороформ. Технические условия |
| ГОСТ 22300-76 | Эфиры этиловый и бутиловый уксусной кислоты. Технические условия |
| ГОСТ 22567.5-93 | Средства моющие синтетическиеи вещества поврхностно-активные. Метод определения концентрации водородных ионов |
| ГОСТ 22261-94 | Средства измерений электрических и магнитных величин. Общие технические условия |
| ГОСТ 23519-93 | Фенол синтетический технический. Технические условия |
| ГОСТ 23932-90Е | Посуда и оборудование лабораторные стеклянные. Общие технические условия |
| ГОСТ 24104-88Е | Весы лабораторные общего назначения и образцовые. Технические условия |
| ГОСТ 24363-80 | Калия гидроокись. Технические условия |
| ГОСТ 25336-82Е | Посуда и оборудование лабораторные стеклянные. Типы, основные параметры и размеры |
| ГОСТ 25706-83 | Лупы. Типы, основные параметры. Общие технические требования |
| ГОСТ 28723-90Е | Расходомеры скоростные, электромагнитные и вихревые. Общие технические требования |
| ГОСТ 29169-91 | Посуда лабораторная стеклянная. Пипетки с одной отметкой |
| ГОСТ 29227-91 | Посуда лабораторная стеклянная. Пипетки градуированные. Часть 1. Общие требования |
| ГОСТ 29251-91 | Посуда лабораторная стеклянная. Бюретки. Часть 1. Общие требования |
| ТУ 6-09-4711-81 | Реактивы. Кальций хлористый (обезвоженный), чистый |
| ТУ 92-887.019-90 | Термометры стеклянные для испытаний нефтепродуктов |
ПРИЛОЖЕНИЕ № 1
Выполнение измерений полиэтиленгликолей в оксиэтилированных алкилфенолах (неонолах).
1. Вводная часть
Методика предназначена для анализа оксиэтилированных алкилфенолов с числом оксиэтильных групп от 4 до 12.
диапазон измеряемых концентраций полиэтиленгликолей (ПЭГ), % масс от 0,01 до 3,0;
минимально измеряемая концентрация, % масс 0,01;
2. Нормы погрешности измерений
Допускаемое расхождение между результатами двух параллельных наблюдений в диапазоне концентраций от 0,5 до 2 % масс с доверительной вероятностью 0,95, составляет 0,1 % масс.
3. Метод измерения
Метод основан на экстракции ПЭГ водно-солевым раствором из раствора анализируемой пробы в уксусноэтиловом эфире и определении их весовым методом.
4. Средства измерения, вспомогательные устройства, материалы и реактивы
весы лабораторные 2-го класса точности с наибольшим пределом взвешивания 200 г по ГОСТ 24104-88Е;
вакуумный сушильный шкаф типа ВШ-0,035А по ТУ 78-175-70 или другой аналогичный, создающий разрежение 10 мм рт. ст.;
эксикатор 2-190, ГОСТ 25336-82, заполненный прокаленным хлористым кальцием. На стенках и фарфоровом вкладыше не должно быть кристаллов соли;
баня водяная по ТУ 46-22-608-75;
секундомер по ГОСТ 8.423-81;
фильтровальная бумага «синяя лента», по ТУ 6-09-1678-77;
цилиндр 3-100, 1-50(250) ГОСТ 1770-74;
стакан В-1-250(100, 1000) ТС по ГОСТ 25336-82;
делительная воронка ВД-1(3)-550 ХС по ГОСТ 25336-82;
воронка В-56-80 ХС ГОСТ 25336-82;
ацетон по ГОСТ 2603-79, чда;
эфир этиловый уксусной кислоты (этилацетат) по ГОСТ 22300-76, чда;
натрий хлористый по ГОСТ 4233-77, чда;
хлороформ по ТУ 6-09-4263-76, хч.
5. Требования безопасности
При выполнении измерений руководствуются общими правилами техники безопасности при работе в химической лаборатории.
6. Квалификация оператора
К выполнению измерений допускаются лица, имеющие квалификацию не ниже 4-го разряда.
7. Условия выполнения измерений в лаборатории
При выполнении измерений в лаборатории, согласно ГОСТ 15150-69 должны быть соблюдены следующие условия:
температура воздуха (25±10) °С;
атмосферное давление от 84,0 до 106,7 кПа (от 630 до 800 мм рт.ст.);
относительная влажность воздуха от 45 до 80 %.
8. Подготовка к выполнению измерений
8.1. Приготовление раствора хлорида натрия с молярной концентрацией c(NaCl) = 5,0 моль/дм3.
(292,2±0,1) г соли растворяют в 950 см3 дистиллированной воды при нагревании, охлаждают до комнатной температуры, переливают в мерную колбу вместимостью 1000 см3 и доводят до метки водой.
9. Выполнение измерений
В предварительно взвешенный, химический стакан вместимостью 250 см3, вносят (10,0±0,5) г пробы и снова взвешивают. Результаты взвешиваний записывают до второго десятичного знака.
К пробе приливают 100 см3 этилацетата и растворяют перемешивая стеклянной палочкой. Раствор количественно переносят в делительную воронку вместимостью 500 см3, ополаскивая стакан 100 см3 раствора хлористого натрия с молярной концентрацией 5 моль/дм3. Содержимое воронки перемешивают в течение 2 мин, периодически стравливая давление. Затем воронку выдерживают в покое в течение 10 мин и отстоявшийся нижний слой сливают в другую чистую воронку вместимостью 500 см3. Экстракцию повторяют таким же объёмом раствора соли и в тех же условиях, нижний слой сливают в воронку с первым экстрактом.
В воронку с 200 см3 солевого экстракта приливают 100 см3 этилацетата и промывают от остатков неонола в вышеописанных условиях. Нижний слой сливают в чистую делительную воронку вместимостью 500 см3, приливают 100 см3 хлороформа, встряхивают 2 мин, выдерживают в покое до четкого разделения фаз (-10 мин). Хлороформный экстракт полиэтиленгликолей сливают в подготовленный в условиях анализа стакан вместимостью 250 см3, пропуская через бумажный фильтр с синей лентой. Экстракцию повторяют ещё 100 см3 свежего хлороформа, сливая экстракт в тот же стакан через тот же фильтр. Фильтр дважды ополаскивают двумя порциями по 25 см3 ацетона, присоединяя его к хлороформному экстракту.
Содержимое стакана упаривают на водяной бане до высыхания. Остаток высушивают в вакуумном сушильном шкафу под вакуумом при остаточном давлении не выше 10 мм рт. ст. при 60 °С в течение 1 ч. Стакан охлаждают в эксикаторе в течение 30 мин и взвешивают с записью результатов до четвертого десятичного знака. По разнице масс стакана с остатком и пустого стакана вычисляют массу сухого остатка.
Контрольный опыт проводят следующим образом. В делительную воронку вносят 100 см3, этилацетата, приливают 100 см солевого раствора, встряхивают содержимое и далее продолжают в условиях проведения рабочего опыта.
10. Обработка результатов измерений
Массовую долю ПЭГ в анализируемом неоноле рассчитывают по формуле:
\(X = \frac{\left( m_р - m_к \right) - 100}{m},\)
где
X - массовая доля ПЭГ в анализируемом неоноле, %;
mр - масса сухого остатка в рабочем опыте, г;
mк - масса сухого остатка в контрольном опыте, г;
m - масса пробы, взятая на анализ, г
Результаты отдельных наблюдений записывают до второго десятичного знака.
По материалам издания «НЕОНОЛЫ. Технические условия.»
ОАО «Нижнекамснефтехим», Нижнекамск, 2001 г.